Арт.: 029829

Профиль ARL-MOONLIGHT-1516-1000 ANOD (Arlight, Алюминий)

Распечатать
Поделиться
Общие характеристики
Материал корпуса
Алюминий
Способ монтажа
Накладной
Тип товара
Профиль
Цвет покрытия
Серый
1 02044

В наличии

Пленочная упаковка (полистирол) 1 м — 1 02044
Пленочная упаковка (полистирол) 1 м 1 02044
Способы получения заказа Способы получения заказа Доставка по Ставропольскому краю
Описание
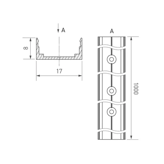
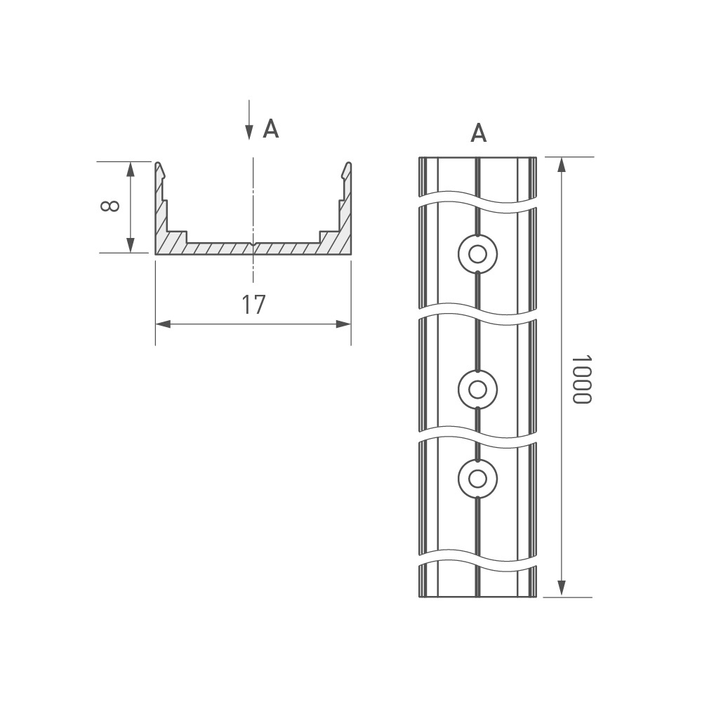
Профиль изготовлен из анодированного алюминия, что позволяет размещать профиль в том числе на улице, и предназначен для использования с герметичной лентой MOONLIGHT сечения 15х16 мм. Внешние размеры профиля – 17x8 мм, его длина составляет 1 метр, что обеспечивает удобство и простоту монтажа.
Характеристики
Профиль из анодированного алюминия для гибкого неона MOONLIGHT сечения 15х16мм. Длина 1 метр.
Общие
Артикул
029829
Материал корпуса
Алюминий
Способ монтажа
Накладной
Тип товара
Профиль
Цвет покрытия
Серый
Эксплуатационные
Место применения
На улице открыто / в помещении
Габариты
Высота
8 мм
Габариты
1000x17x8
Длина
1000 мм
Ширина
17 мм